In acest film, Tariel Kapanadze arata ceva de necrezut, cred ca a fost scanteia care a aprins multe minti adormite, printre care si a mea .
TARIEL KAPANADZE - PATENT
TARIEL KAPANADZE - PATENT
http://www.TamasEduard.com - ENERGY = ( AETHER x MATTER ) x ( RATE OF CHANGE )
https://www.youtube.com/watch?v=AMK0B9ljNrc - Tesla Wireless Power Transmission (Longitudinal Transmission) !
https://www.youtube.com/watch?v=AMK0B9ljNrc - Tesla Wireless Power Transmission (Longitudinal Transmission) !
TARIEL KAPANADZE - PATENT
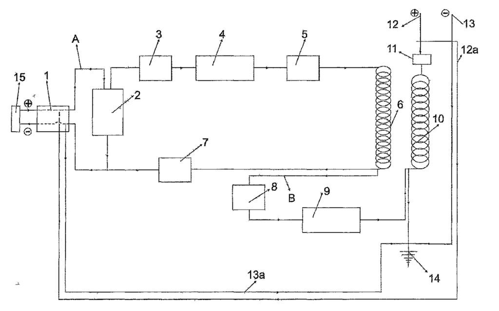
In cateva cuvinte patentul lui Tariel Kapanadze:
- Primul circuit este proiectat pentru generarea electricitatii prin transferul campului electromagnetic aflat la prima bobina cu energia receptionata din prima bobina.
- In circuitul secundar, datorita puternicului camp magnetic receptionat din prima bobina apare un camp magnetic diferit intre cele doua bobine.
- Campul magnetic diferit aparult intre a doua si prima bobina este stabilizat cu ajutorul stabilizatorului de frecventa, acest circuit converteste energia care se misca independent in aer (eter) la a doua bobina proiectata sa produca energie electica.
- Aceasta energie electrica produsa de a doua bobina este ajustata la 220v/50hz cu ajutorul celui de al doilea regulator de frecventa proiectat la iesirea din bobina.
Am atasat cele doua patente:
- Primul circuit este proiectat pentru generarea electricitatii prin transferul campului electromagnetic aflat la prima bobina cu energia receptionata din prima bobina.
- In circuitul secundar, datorita puternicului camp magnetic receptionat din prima bobina apare un camp magnetic diferit intre cele doua bobine.
- Campul magnetic diferit aparult intre a doua si prima bobina este stabilizat cu ajutorul stabilizatorului de frecventa, acest circuit converteste energia care se misca independent in aer (eter) la a doua bobina proiectata sa produca energie electica.
- Aceasta energie electrica produsa de a doua bobina este ajustata la 220v/50hz cu ajutorul celui de al doilea regulator de frecventa proiectat la iesirea din bobina.
Am atasat cele doua patente:
- Fişiere ataşate
-
- Kapanadze-WO2008103130A1.pdf
- (100.42 KiB) Descărcat de 1089 ori
-
- Kapanadze-WO2008103129A1.pdf
- (315.56 KiB) Descărcat de 2149 ori
http://www.TamasEduard.com - ENERGY = ( AETHER x MATTER ) x ( RATE OF CHANGE )
https://www.youtube.com/watch?v=AMK0B9ljNrc - Tesla Wireless Power Transmission (Longitudinal Transmission) !
https://www.youtube.com/watch?v=AMK0B9ljNrc - Tesla Wireless Power Transmission (Longitudinal Transmission) !
Re: TARIEL KAPANADZE - PATENT
Schema potrivita ar fi asta:
https://www.youtube.com/watch?v=AMK0B9ljNrc - Tesla Wireless Power Transmission (Longitudinal Transmission)
